中北大学2024-2025学年第一学期大学体育选课通知
各学院各班级:
大学体育选课即将开始,请各学院、各班级务必通知本学院、本班同学进行网上选课(具体操作见以下指南)。具体事宜如下:
1、选课时间:
2022级:2024年9月2日9:00--9月5日24:00
2023级:2024年9月2日9:00--9月5日24:00
2024级:2024年9月23日9:00--9月26日24:00
2、选课要求:
(1)必须在规定时间内完成选课。
(2)大三学生必须选课,学习年限为一年。要求选上学年第二学期同一项目同一老师的课,进行俱乐部活动,具体活动时间、内容,课程老师会做针对性安排。
(3)大二学生可以选择与大一年级相同项目的中高级班继续进行学习,也可以选择与大一不同项目的中高级班进行学习,学习年限为两年。
(4)本学年大学体育针对大二学生,开设了体适能班。大二学生在选课时,发现自己已在体适能班的同学不需要选课。
(5)大一学生只能选择任一项目的初级班进行学习,学习年限为一年。
(6)保健班的申请事宜:部分身体异常或者病、残、弱或者由于意外、突发事件或者手术后导致身体功能性运动障碍者,不能进行正常体育运动的学生需要申请进保健班学习。具体事宜请加入QQ群。

(7)大学体育选课中如果有问题请进入大学体育选课咨询群进行咨询。

中北大学体育学院
2024年9月1日
学生选课操作指南
一、系统登录方式:登录新信息门户系统(地址:https://zhmh.nuc.edu.cn,用户名密码为原数字化校园系统用户名和密码,如果是校外登录系统,点击中北大学首页数字校园,通过企业微信登录),登录界面如下图:

校内用户登录界面

校外用户登录界面
登录成功后,点击教务系统,进入教务系统,不需要二次输入用户名和密码,如下图:


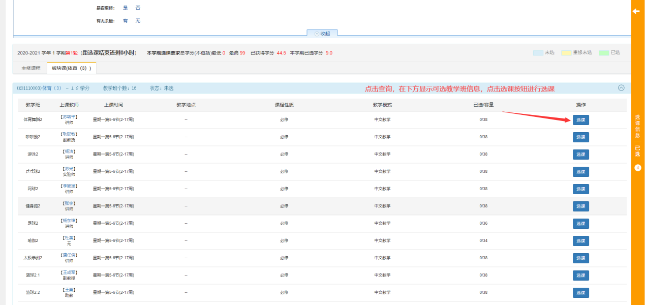
登录教务系统后,选择选课->自主选课进入选课页面。

选课页面中选择主修课程或者板块课程:2022级2022体育、2023级2023体育、2024级2024体育,点击查询按钮,查询后下方显示可选的教学班。

点击对应教学班后面的选课按钮进行选课,选课成功后选课按钮变为退选按钮,如需退选点击退选按钮。




体育项目上课地点
一年级项目 |
上课地点 |
二年级项目 |
上课地点 |
足球初级 |
东区总球场 |
足球中高级 |
21号楼对面总球场 |
篮球初级 |
东区篮球场 |
篮球中高级 |
东区篮球场 |
气排球初级 |
东区篮球场北边排球场 |
排球中高级 |
东区篮球场北边排球场 |
乒乓球初级 |
21号楼地下室 |
乒乓球中高级 |
21号楼地下室 |
羽毛球初级 |
中区羽毛球馆 |
羽毛球中高级 |
中区羽毛球馆 |
网球初级 |
网球场地 |
网球中高级 |
网球场地 |
射箭初级 |
中区羽毛球馆内馆 |
瑜伽中高级 |
13号楼4A、4B |
健美操初级 |
13号楼3B |
健美中高级 |
主田径场健身房 |
体育舞蹈初级 |
13号楼2B |
啦啦操中高级 |
13号楼3A |
形体体育舞蹈初级 |
9号楼地下室 |
体育舞蹈中高级 |
13号楼2A |
塑形健身跑初级 |
图书馆对面主田径场 |
塑形健身跑中高级 |
主田径场 |
形意拳.棍初级 |
中区篮球场 |
体适能中高级 |
主田径场 |
旱地冰球初级 |
东区篮球场 |
太极拳.剑中高级 |
中区篮球场 |
拳击初级 |
中区篮球场 |
||
跆拳道初级 |
9号楼教学地下室 |
||
拓展训练初级 |
中区篮球场 |
||
毽球初级 |
旧一号楼对面毽球场 |







